PROTEÇÃO À CORROSÃO DO FERRO POR REVESTIMENTO DE FILMES DE POLÍMEROS CONDUTORES ELETRÔNICOS
S. SOUZA (PG), R. M. TORRESI (PQ)
Instituto de Química de São Carlos - Universidade de São Paulo, Caixa Postal 780, 13560-970, São Carlos, SP, Brasil.
Palavras-chave: polianilina; ferro; corrosão.
Recobrimentos de polímeros condutores eletrônicos, PAni, Ppy, etc., favorecem a passivação de áreas expostas do metal, estabilizando seu potencial na região de passivação e mantendo uma camada de óxido protetor sobre sua superfície [1]. A reação de redução de oxigênio sobre o polímero recupera a carga consumida pela dissolução do metal, diminuindo a velocidade de dissolução e servindo como mediador da corrente anódica entre a camada passiva e a redução de oxigênio no filme polimérico [2,3]. O efeito primário de um recobrimento é atuar como uma barreira física que protege o metal de agentes corrosivos, O2 ou H+ [4]. Porém, apresentam o problema de perder a impenetrabilidade com o tempo, formando defeitos como fissuras ou buracos, criando caminhos por onde espécies corrosivas chegam ao substrato e produzindo corrosão localizada. Geralmente, são agregados pigmentos aos filmes orgânicos que protegem através de mecanismos fisico-químicos, eletroquímicos ou de troca iônica [5].
O eletrodo de trabalho consistiu de amostras metálicas de Fe da Goodfellow, apresentando 0,5 cm de diâmetro e 99,99% de pureza. As eletrossínteses dos polímeros condutores: PAni (ácido oxálico 0,1 M e An 0,1 M) e PAni sulfonada (ácido oxálico 0,1 M, An 1,0 mM e An sulfonada 50,0 mM), foram realizadas impondo 10 ciclos voltamétricos de -0,6 a 1,5 V e a 10 mV.s-1. A resposta eletroquímica dos sistemas Fe e Fe/filmes poliméricos em relação à corrosão foi obtida por voltametria cíclica em H2SO4 0,1 M (pH = 1,8) e K2SO4 0,1 M (pH = 4,5, acidificado com H2SO4), impondo 5 ciclos voltamétricos de -0,6 a 1,5 V e a 10 mV.s-1. As amostras foram analisadas microestruturalmente por MEV, após as eletropolimerizações dos polímeros condutores e resposta eletroquímica dos filmes poliméricos quanto à proteção à corrosão em meios acidificados sem monômero.
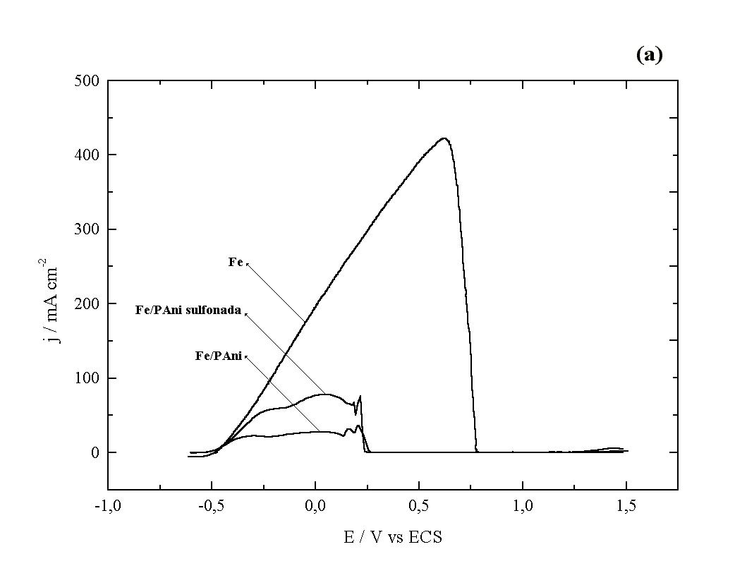
As curvas de polarização, representadas pela Figura 1(a) e (b), indicam crescente resistência à corrosão para os sistemas na seguinte ordem: Fe, Fe/PAni sulfonada e Fe/PAni. Realmente, os sistemas Fe/filmes poliméricos apresentam características eletroquímicas relevantes de maior resistência à corrosão, tais como: (i) menor valor de densidade de corrente máxima que confere, principalmente ao Fe/PAni uma maior facilidade em se passivar e manter o filme polimérico sobre o substrato em meio aquoso agressivo; (ii) menor densidade de corrente crítica de passivação e de potencial crítico de passivação, que estão associados à estabilidade e capacidade protetora do filme; (iii) maior amplitude da região de passividade que, mais uma vez, caracteriza a maior proteção à corrosão favorecida pela estabilidade do filme polimérico.
                   

Figura 1- Perfil j/E potenciodinâmico dos sistemas Fe, Fe/PAni e Fe/Pani sulfonada em H2SO4 0,1 M (a) e K2SO4 0,1 M (b), de 0,6 a 1,5 V(ECS) e dE/dt = 10 mV.s-1.
CONCLUSÕES
Os voltamogramas cíclicos das sínteses eletroquímicas dos polímeros estudados mostram diferenças acentuadas que podem ser atribuídas ao tamanho do ânion, ao efeito de adsorção e de distribuição de carga sobre o ânion. Essas diferenças levam à mudança na morfologia do filmes poliméricos com conseqüentes alterações em suas propriedades físico-químicas, conforme observadas pelas fotomicrografias e pelas respostas eletroquímicas à resistência à corrosão.
As morfologias dos filmes de PAni é fibrilar, apresentando boa homogeneidade, regularidade e aderência; e de PAni sulfonada, granular com a formação de agregados.
O filme de PAni favoreceu maior resistência à corrosão do Fe em meios acidificados.
REFERÊNCIAS BIBLIOGRÁFICAS
[1] SAZOU, D.; GEORGOLIOS, C. (1997). J. Electroanal. Chem., v.429, p.81-93.
[2] KINLEN, P.J.; SILVERMAN, D.C.; JEFFREYS, C.R. (1997). Synthetic Metals, v.85, p.1327-1332.
[3] DENG, Z.; SMYRL, W.H.; WHITE, H.S. (1989). J. Electrochem. Soc., v.136, p.2152-2158.
[4] LI, P. TAN, T.C.; LEE, J.Y. (1997). Synthetic Metals, v.88, p.237-242.
[5] CAMALET, J.L.; LACROIX, J.C.; AEIYACH, S.; CHANE-CHING, K.; LACAZE, P.C. (1998). Synthetic Metals, v.93, p.133-142.