estudo do efeito dos sais precursores sobre as
propriedades eletrocatalíticaS de eletrodos de
ti-SnO2 PREPARADOS POR DECOMPOSIÇÃO TÉRMICA
Leonardo Santos Andrade (IC), Sonia R. Biaggio (PQ),
Nerilso Bocchi (PQ) e Romeu Cardozo Rocha Filho (PQ)
Departamento de Química  Universidade Federal de São Carlos
Palavras-Chave: Ti-SnO2, eletrodo modificado, método de decomposição térmica.
O tipo de anodo necessário em processos eletrolíticos varia desde eletrodos que apresentam baixo sobrepotencial até aqueles que apresentam alto sobrepotencial para a reação de oxidação de interesse. No caso de processos eletrolíticos de oxidação de compostos orgânicos, é importante que o anodo apresente alto sobrepotencial para a reação de desprendimento de oxigênio, pois assim consegue-se maior eficiência para a remoção desses compostos [1]. Um dos eletrodos que tem demonstrado um bom potencial para esse tipo de anodo é o de óxido de estanho (IV), SnO2, o qual, quando dopado com antimônio (Sb), apresenta uma alta condutividade e é razoavelmente estável em meios de diferentes pHs [2,3]. Estes eletrodos podem ser preparados tanto por decomposição térmica, usualmente a partir de cloretos [4], como a partir de precursor polimérico [5]. Este trabalho teve como objetivo estudar a influência dos sais precursores sobre as propriedades eletrocatalíticas de anodos de Ti-SnO2 dopados com antimônio, preparados pelo método de decomposição térmica.
Os sais precursores estudados foram os seguintes: SnCl2.2H2O e SbCl3, SnSO4 e Sb2(SO4)3, SnSO4 e SbCl3. Os filmes de SnO2 suportados sobre titânio foram preparados conforme método descrito por Lipp e Pletcher [4]; após pré-tratamento do substrato (banho ultrassônico em 2-propanol e posterior ataque em HCl concentrado quente), aplicação de uma fina camada da solução dos sais precursores sobre o substrato com um pincel macio e evaporação do solvente em estufa a 90 °C por 10 min (2 vezes), seguida de calcinação em mufla a 500 °C, por 20 min, para formação do filme. A etapa acima descrita era repetida por 5 vezes, perfazendo um total de 10 aplicações, sendo a última etapa com 80 min de duração. Foram utilizadas as seguintes soluções precursoras: a) solução 2-propanólica de SnCl2.2H2O 13% m/v e SbCl3 0,20% m/v; b) solução aquosa ácida (H2SO4) de SnSO4 12,3% m/v e Sb2(SO4)3 0,15% m/v e c) solução aquosa ácida (HCl) de SnSO4 12,3% m/v e SbCl3 0,20% m/v. Os filmes obtidos foram caracterizados através da voltametria cíclica utilizando o par redox Fe2+/Fe3+, da varredura linear de corrente e da cronopotenciometria. A célula eletroquímica utilizada era composta de três eletrodos, sendo o eletrodo de trabalho o Ti-SnO2, o contra-eletrodo de platina em forma de rede e o de referência o eletrodo de calomelano saturado (ECS). Uma solução aquosa de K4[Fe(CN)6] 5 mmol/L foi usada na voltametria cíclica, sendo que nas demais medidas eletroquímicas foi utlizada uma solução aquosa de H2SO4 0,5 mol/L. Os eletrodos foram caracterizados quanto a sua morfologia e composição; para isso foram usadas a microscopia eletrônica de varredura (MEV) e a difratometria de raios X (DRX), respectivamente.
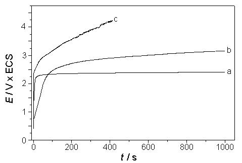
Os testes eletroquímicos realizados mostraram que os eletrodos de Ti-SnO2 preparados a partir dos sais precursores SnCl2.2H2O e SbCl3 eram mais condutores, quando comparados aos demais investigados (preparados a partir de SnSO4 e Sb2(SO4)3 ou SnSO4 e SbCl3), já que tiveram um comportamento mais reversível (voltametria cíclica do par redox Fe2+/Fe3+), maior capacidade de transferência eletrônica (varredura linear de corrente, Figura 1.a) e o valor do potencial de estado estacionário foi o mais baixo dentre eles (cronopotenciometria, Figura 2.a).
| 
			 
  | 
		
			 
  | 
	
Fig. 1 - Voltametria de varredura linear Fig. 2 - Cronopotenciometria para os
de corrente para os eletrodos de Ti-SnO2 eletrodos de Ti-SnO2 obtidos a partir
obtidos a partir de: a) SnCl2.2H2O e SbCl3, de: a) SnCl2.2H2O e SbCl3, b) SnSO4
b) SnSO4 e Sb2(SO4)3, c) SnSO4 e SbCl3. e SbCl3, c) SnSO4 e Sb2(SO4)3.
v = 5 µA/s, A » 2,0 cm2. ia = 1,0 mA/cm2, A » 2,0 cm2.
No teste de varredura linear de corrente, conforme mostrado na Fig. 1.a, o eletrodo obtido a partir de SnCl2.2H2O e SbCl3 apresenta potencial razoavelmente estável (entre, 2,5 e 3,0 V) até um valor de densidade de corrente de aproximadamente 7,0 mA/cm2 sendo que, a partir deste valor observa-se um aumento brusco no potencial, denotando, assim, limitações de capacidade de transferência eletrônica deste eletrodo. Conforme pode ser visto nas Figs. 1.b e 1.c, os demais eletrodos mostraram-se menos condutores já que o potencial praticamente não foi estabilizado, principalmente o do eletrodo preparado a partir dos sulfatos (Fig. 1.b). No teste cronopotenciométrico, o eletrodo obtido a partir de SnCl2.2H2O e SbCl3 (Fig. 2.a) apresenta, no início, um aumento brusco do potencial até um valor próximo de 2,3 V, mantendo-se estável durante todo o tempo de eletrólise (cerca de 1000 s). Isso confirma que esse eletrodo possui maior capacidade de transferência eletrônica (portanto, maior atividade catalítica), quando comparado aos demais (Fig. 2.b e 2.c). Cabe ressaltar que, de certa forma, esse comportamento já era esperado levando-se em conta a análise superficial do eletrodo através de MEV.
FAPESP e CNPq
Bibliografia
1 - S. Stucki, R. Kötz, B. Carcer & W. Suter. J. Appl. Electrochem. 1991, 21, 99.
2 - A. Nanthakumar & N. R. Armstrong. IN: Semiconductor Electrodes. H. O. Finklea (Ed.). Amsterdã, Elsevier, 1988. p. 203-241.
3 - S. Trasatti & G. Lodi. IN: Electrodes of Conductive Metallic Oxides, Part B. S. Trasatti (Ed.). Nova Iorque, Elsevier, 1980.
4 - L. Lipp & D. Pletcher. Electrochim. Acta 1997, 42, 1091.
5 - A. R. Fontanetti, R. C. Rocha-Filho, S. R. Biaggio & P. Olivi. CD de Resumos da 50th Meeting of the International Society of Electrochemistry. Pavia, Itália, 1999. Trabalho nº 863.