EVIDÊNCIAS ELETROQUÍMICAS DO PROCESSO DE POLIMERIZAÇÃO ELETROQUÍMICA DO FURFURAL SOBRE PLATINA EM H2SO4.


Alzira Maria Serpa Lucho (PG); Denise Schermann Azambuja (PQ) e

Reinaldo Simões Gonçalves (PQ).


Departamento de Físico-Química do Instituto de Química da Universidade Federal do Rio Grande do Sul.


palavras-chave: furfural, polímero condutor, platina


Introdução

A oxidação eletrocatalítica de compostos orgânicos sobre platina e outros metais nobres é um processo conhecido e muito estudado[1-3]. Os primeiros resultados da eletrooxidação do furfural (2-furaldeído ou 2-furancarboxaldeído) evidenciam uma etapa adsorptiva anterior[4]. No entanto, ensaios galvanostáticos, revelaram a formação de um polímero com características termofixas e condutoras[5]. O presente trabalho apresenta, por medidas eletroquímicas, evidências do processo de polimerização eletroquímica do furfural sobre o eletrodo de platina, em meio ácido sulfúrico 0,50 M.

Material e Métodos

A técnica eletroquímica empregada foi a voltametria cíclica. O sistema eletroquímico consistiu de uma célula com 3 eletrodos. O contra-eletrodo e o de trabalho eram platina brilhante, enquanto que o referência era de calomelano saturado (ECS). O equipamento consistiu de um potenciostato PGSTAT 30 da Autolab/Eco Chemie, acoplado a um microcomputador. O eletrólito suporte foi o ácido sulfúrico (p.a.) da Merck, preparado com água destilada, posteriormente deionizada, na concentração de 0,50 M. O furfural exigiu periódicas destilações à pressão reduzida, para manter o seu grau de pureza. A concentração de orgânico adicionado foi de 80 mM.


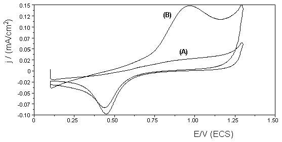
O processo eletrooxidativo do furfural sobre o eletrodo de platina, pode ser visualizado na figura 1. Nela, são apresentados os voltamogramas cíclicos da platina em ácido sulfúrico 0,50 M na ausência e na presença de furfural 80 mM. O intervalo de potencial estudado ficou entre 0,10V e 1,30V (ECS).


Resultados e Discussão

Figura 01 - Curva I(E) para o eletrodo de Pt em H2SO4 0,50M em ambiente aerado, v = 0,20mV/s, (A) na ausência de furfural e (B) na presença de 80mM de furfural.

















Todos os voltamogramas apresentados referêm-se à um tempo de adsorção (tads) nulo. Observa-se o aparecimento de um pico de corrente durante a varredura anódica, em torno de 0,97 V (ECS). O processo é totalmente irreversível. A presença do orgânico, também diminui a carga associada à eletroredução da camada de óxido de platina formado, durante a varredura de volta. Este efeito indica um bloqueio dos sítios ativos do metal.

O pico de eletrooxidação do furfural aumenta em ambiente desarejado e diminui com a substituição da solução ácida por uma solução de sulfato de sódio com a mesma força iônica.

O crescimento do filme polimérico sobre a superfície do eletrodo de platina, pode ser visualizado na figura 2. Nela são apresentados os voltamogramas cíclicos na presença de furfural, correspondentes à 1a.; 2a. e 3a. varreduras consecutivas. As subsequentes coincidem com a última. O aumento do perfil do voltamograma com o número de ciclos, indica que está se formando um filme condutor sobre a superfície do eletrodo, de modo a se ter um aumento de sua área.














Figura 02 - Curva I(E) para o eletrodo de Pt em H2SO4 0,50M em ambiente aerado, v = 0,20mV/s, na presença de 80mM de furfural, (A) primeiro ciclo , (B) segundo ciclo e (C) terceiro ciclo.









Conclusões

A interação do furfural com o eletrodo de platina brilhante em meio aquoso ácido, mostrou ser um processo irreversível, envolvendo a oxidação do orgânico. Esta, depende da concentração de oxigênio dissolvido e da acidez do meio. Ciclagens sucessivas aumentam o perfil do voltamograma até um valor limite. Este efeito caracteriza a formação de um filme polimérico e condutor que reflete o aumento da superfície do eletrodo. (FAPERGS; CAPES)


Referências:

  1. Gonçalves, R. S.; Mallmann, J. A.; Grabner, E. W., Electrochimica Acta, 40,

1165, 1995.

  1. Pastor, E.; Schmidt, V. M.; Iwasita, T.; Arévalo, M. C.; Gonzáles, S.; Arvia, A. J., Electrochimica Acta, 38, 1337, 1993.

  2. Gonçalves, R. S.; Léger, J-M.; Lamy, C., Electrochimica Acta, 33, 1581, 1988.

  3. Gonçalves, R. S.; Nascimento, P. C.; Nascimento, D. B., Anais do V Simp. Bras. Eletroquim. Eletroanal., p. 237, São Paulo, 1986.

  4. Gonçalves, R. S.; Tronco, M. A.; Colla, A.; Janissek, P., Anais do IV Simp. Bras. Eletroquim. Eletroanal., p. 215, São Paulo, 1984.